Eiri Avion PIK-20



Konstrukce soutěžního větroně PIK-20 byla navržena jako reakce na pozměněné podmínky pro standardní třídu FAI poté, co byla pro tuto kategorii připuštěna vodní přítěž, zatahovací podvozek a vztlaková klapka spojená s aerodynamickou brzdou. Projekt vypracovali v leteckém oddělení helsinské university (zkratka PIK byla odvozena od Polyteknikkojen Ilmailukerho – univerzitní aeroklub) konstruktéři Pekka Tammi, Hannu Korhonen a Markku Hiedanpää. Prototyp byl postaven ve firmě Molino Oy a zalétán 10.10.1973. Následující rok již startoval na plachtařském mistrovství světa v australské Waikerii, kde s ním Raimo Nurminen skončil na třináctém místě. Sériová výroba byla poté zavedena u firmy Eiri Avion v závodě v Jämijärvi.

Konstrukce větroně byla i během výroby stále zdokonalována. Upravovala se mechanizace křídla a během výroby verze B byly zavedeny uhlíkové nosníky křídla. PIK-20 B se tak stal prvním sériově vyráběným větroněm, u kterého byl jako stavební materiál využit uhlíkový kompozit. Ten dokázal snížit prázdnou hmotnost větroně o 25 kg.

V běžném provozu se proklamovaná klouzavost 42 ukázala jako velmi diskutabilní. Zpočátku to bylo přičítáno tvarování spodní části trupu za křídlem a byly proto dokonce nabízeny sety pro úpravu této partie. Další měření ale dokázala, že kluzavost citelně klesala s mírou znečištění profilu křídla.

V roce 1975 byl, opět v úzké spolupráci firmy Eiri Avion a helsinské university, zahájen vývoj zcela nové verze. Ta byla šita na míru nově ustanovené kategorii FAI pro patnáctimetrové větroně – závodní třídu. Poprvé se prototyp verze D vznesl do vzduchu 19.4.1976. Zásadní změnou bylo opětovné přepracování mechanizace křídla a použití výsuvných aerodynamických brzd Schempp-Hirth.

V květnu 1977 postihl výrobní halu Eiri Avion požár, při kterém shořelo několik větroňů a patrně byly také zničeny či poškozeny původní formy. Zřejmě i tato událost přispěla k dalším úpravám, takže od roku 1978 byly větroně vyráběny s pozměněným tvarem trupu a nové přípravky byly používány rovněž při výrobě křídla.

U firmy Eiri Avion výroba probíhala až do roku 1980. Několik let pak výroba ještě pokračovala ve Francii, kde výrobní práva převzala firma Siren SA. Celkem vzniklo nejméně 425 strojů všech verzí.

Přehled verzí

PIK-20 A Základní provedení označované často jen jako PIK-20. Při výrobě byl použit pouze sklolaminát, kabina měla dvoudílný pilotní překryt. Ovládání klapek a křidélek bylo oddělené. Vzletová hmotnost 400 kg. Celkem bylo vyrobeno 24 kusů.

PIK-20 B Sériové provedení pro standardní třídu se zvýšenou vzletovou hmotností. Propojené řízení klapek s křidélky bylo možno u některých strojů rozpojit. Během výroby zaveden uhlíkový nosník křídla. Počet vyrobených kusů ve verzi B se uvádí v různých pramenech od 131 do 149 kusů.

PIK-20 C Verze B bez klapky, jež byla nahrazena klasickými výsuvnými brzdami

PIK-20 D Modernizovaná verze s aplikovanými díly z uhlíkových kompozitů, hmotnost 220 kg. Vyrobeno bylo asi 162 kusů (včetně verze D-78). Stabilní propojení klapky s křidélky, brzdicí klapky Schempp-Hith

PIK-20 D-78 Verze D vyráběná od roku 1978 z nových forem. Příď trupu je zahrocenější, VOP je předsunutá před kýlovou plochu.

PIK-20 E Motorizovaná verze PIK-20 D zalétaná v říjnu 1976. Motor Rotax 501 o výkonu 31 kW se ručně zatahuje i s pylonem za kabinu do trupu. Trup je prodloužen, ocasní plochy zvětšeny a křídla dostala mírnou šípovitost. Uvádí se výroba 103 kusů.

Technický popis

PIK-20B

V konstrukci sklolaminátových dílů bylo použito epoxydové pryskyřice, která byla teplotně odolněší a zachovávala si stálost do 70° C. Proto se PIK-20 objevuje také v jiných barvách než v obligátní bílé, která byla nutností pro jeho tehdejší sklolaminátové současníky.

Křídlo ve tvaru dvojitého lichoběžníku má skořepinovou konstrukci tvořenou sklolaminátovým sendvičem s výplní 10 mm silnou vrstvou PVC pěny Lynizel. Hlavní skříňový nosník má sklolaminátové pásnice. U pozdějších strojů byly nosníky z uhlíkového kompozitu. Konce křídel jsou ohnuty dolů a tvoří tak ochranu křidélek na zemi. Před hlavním nosníkem jsou umístěny vakové nádrže na vodní balast o celkovém objemu 140 litrů.

Konstrukce vztlakové klapky je sklolaminátová s vrstvou PVC pěny o tloušťce 5 mm jako podklad. Klapku je možno vychýlit v rozmezí od 9° nahoru až po 80° dolů, přičemž výchylky od 8° dolů jsou používány jako aerodynamická brzda. Klapka je ovládána táhly a osa otáčení je v dolním obrysu profilu. Křidélka stejné konstrukce jako klapka jsou ovládána rovněž táhly a mají diferencované výchylky +16° až -25°. Ovládání klapky je propojeno s ovládáním křidélek tak, že do výchylky ±8° se s klapkou pohybují rovněž křidélka. Po další změně pravidel FAI pro standardní třídu byl u později vyrobených strojů zaveden čep, kterým bylo možno toto propojení jednoduše zrušit.

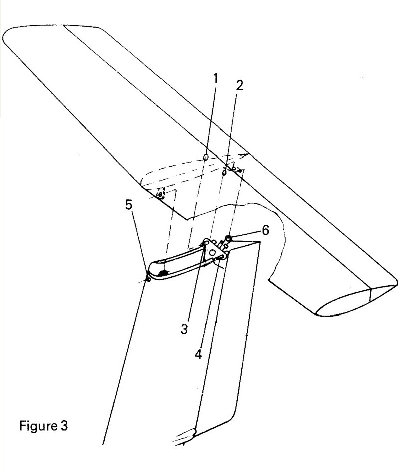
Prodloužené konce hlavních nosníků jsou nasunuty do otvorů v trupu a v ose trupu vzájemně zajištěny čepem. Řízení klapek a křidélek se propojuje v trupu skrz montážní otvor umístěný na hřbetě trupu. Ten je umístěn buď v ose nebo vlevo od osy trupu.

U kořene křídla je použit profil Wortmann FX 67-K-170, na koncích pak FX 67-K-150. Vzepětí křídla činí 3°, úhel náběhu 1°. Hloubka křídla u kořene je 0,9 m, uprostřed 0,65 m a na koncích 0,36 m.

Ocasní plochy mají konfiguraci T. Obě kormidla jsou vyrobena jako sklolaminátová skořepina se sendvičovou výplní z PVC pěny Lynizel. U kýlové plochy je vrstva pěnové výplně silná 10 mm, u stabilizátoru a směrovky 5 mm. U výškovky pak je použit jen polosendvič bez vnitřní části laminátu a pěnovou vrstvou silnou 5 mm.

VOP s profilem Wortmann FX 71-L-150/20 se montuje zasunutím do kování na vrcholu kýlové plochy směrem dozadu a zajišťuje se čepem pod vrcholem kýlové plochy. Výškové kormidlo se samostatně připojuje na táhlo vyvedené před směrovkou. Rozpětí VOP činí 2 m, úhel nastavení je -2°. Do řízení výškového kormidla je zapojeno pružinové vyvážení. Výchylky výškového kormidla jsou ±20°. SOP s profilem FX 71-L-150/30 má výchylky kormidla ±27°.

Trup je vyroben jako laminátová skořepina vyztužená osmi přepážkami. Výška trupu je 0,86 m a šířka 0,6 m.

Překryt pilotního prostoru z 3 mm plexiskla se odklápí doprava a v nouzi jej lze odhodit. V zavřené poloze je utěsněn hadicí, která se tlakuje balónkovou pumpičkou. Pedály nožního řízení jsou nastavitelné. Hříbek s palubní deskou je instalován před pilotem na podlaze. Pod přístrojovou deskou jsou umístěna táhla vypínače vlečného lana a nastavení pedálů. Klapka se ovládá otáčením modré kličky po levé straně kabiny, kde je umístěn i zelený ovladač pružinového vyvážení. Na pravé straně je páka ovládání podvozku. Podvozkové kolo se brzdí prostřednictvím páčky umístěné na řídící páce.

Snímač celkového tlaku je ve špičce trupu, snímače statického tlaku jsou po bocích střední části trupu. Snímač tlaku pro variometr je v kýlové ploše. Závěs pro vlečné lano je umístěn na spodku trupu před podvozkovou šachtou. Za podvozkovou šachtou je výpustný ventil vodního balastu.

Hlavní zatažitelné podvozkové kolo o rozměru 5.00-5 je neodpružené a na levé straně vybavené bubnovou brzdou. V zatažené poloze je zakryto dvoudílnými dvířky. Pod zádí je ostruhové kolo velikosti 200 x 50 mm.

PIK-20 D

Na pásnice hlavního nosníku křídla byl standardně použit uhlíkový kompozit. Skořepinu křídla tvoří sendvič s výplní PVC o tloušťce 10 mm. Křidélka i klapka mají plně sendvičovou konstrukci s 3 mm výplní PVC pěnou. Osa otáčení klapky je nově uprostřed profilu a mezi klapkou i křidélky jsou elastické přechody. Křidélka byla navíc prodlužena až ke konci křídla. Klapky mají nyní výchylky od -12° do +16°. Klapky i křidélka jsou opět propojeny, ale nově je zřízena rovněž závislost klapky na výchylce křidélek, takže celek funguje jako flaperon. Navíc při vychýlení klapky dochází automaticky k podélnému vyvážení. Výchylka křidélek činí při klapce v nulové poloze -12°/+11°. Na křídlo byly instalovány klasické brzdicí klapky Schempp-Hirth, které se vysunují z horní plochy křídla. Nádrže na vodu pojmou maximálně 140 kg balastu.

Kormidla měla opět sendvičovou konstrukci s PVC výplní s tím rozdílem, že u stabilizátoru byla tloušťka pěnové výplně zvětšena na 10mm. Výškové kormidlo pak nově tvoří sendvič s 3 mm pěnou stejné konstrukce jako u klapek a křidélek. Směrové kormidlo má výchylku zvětšenou na ±33°.

Pilotní vana byla oproti verzi B zesílena výztuhami z uhlíkových kompozitů a navíc je pod ní vrstva z tvrzeného PVC. Zádová opěrka je za letu stavitelná okolo spodního uchycení. Místo kliky ovládání klapek jsou na levé straně kabiny dvě nové páky – černá pro ovládání klapky a modrá pro aerodynamické brzdy. Táhlo vypínače vlečného lana se přemístilo na levou stěnu kabiny vedle přístrojové desky. Táhla řízení jsou při výstupu z křídla utěsněna. Podvozkové kryty a vlekací zařízení byly rovněž důkladně utěsněny.

Pozdější stroje (označované někdy jako PIK-20 D-78) mají zahrocenější příď a VOP vůči SOP posunutou o 12 cm dopředu. 

PIK-20 v Československu a Čechách

První PIK-20B byl do Československa dovezen pro potřeby československé plachtařské reprezentace již v roce 1976 a hned v červnu byl vyslán na 15. mistrovství světa v bezmotorovém létání ve finském Räyskälä. Se startovním označením V na SOP jej pilotoval ve standardní třídě ing. Tadeáš Wala a celkově se umístil na 33. místě. Pro zajímavost je možno uvést, že z celkem 46 startujících větroňů ve standardní třídě bylo dvanáct typu PIK-20 a první tři místa byla vybojována rovněž na těchto strojích. Po rozdělení Československa byl OK-6600, v.č. 20110 převeden na Slovensko, kde létal jako OM-6600 v aeroklubu Prievidza až do roku 2007, kdy byl zničen po srážce ve vzduchu s ASW-15, OM-1515.

Další PIK-20B byl zakoupen soukromě v roce 2007 v Maďarsku a byl pak několik let provozován s německou imatrikulací ve Dvoře Králové nad Labem. Zde byly jeho vlastnosti vylepšeny nalepením turbulentních zubatých pásek, které ale fungovaly bezvadně jen do 130 km/h, a proto byly později z horní plochy křídel odstraněny. Od roku 2014 je zapsán do českého rejstříku jako OK-9927 a soukromě provozován v Medlánkách. Větroň je vybaven nádržemi na vodu o objemu 2 x 40 litrů a stěračemi much (bugwipery).

Obě dvě béčka mají ještě sklolaminátové nosníky, v.č. 20110 měl již možnost zrušit propojení klapky s křidélky.

Zatím jediný PIK-20 ve verzi D je od roku 2009 soukromě provozován se staronovou značkou OK-6600 v Hořicích.

Imatrikulace Verze Výr.č. Poznámky
OK-6600 PIK-20B 20110 Zápis v ČSSR jako OK-6600 (V) 11.5.1975, Aeroklub Svazarmu – SVS Moravská Třebová, výmaz 24.3.1993, na Slovensku jako OM-6600 (PIK), SNA Prievidza, 29.6.2007 zničen u Prievidze po srážce s ASW-15 OM-1515
OK-6600 PIK-20D 20636 Vyroben 1978, ex PH-633, od 6.8.2004 do 24.9.2009 registrován jako OO-YAW. Zápis v ČR jako OK-6600 (GO) 13.11.2009
OK-9927 PIK-20B 20025 Vyroben 1975, ex OH-453, v letech 1977-2000 jako OY-XHH (B9), do 27.7.2010 jako HA-4491 (B9), poté D-9991 (PIK), D-9927 (PIK), 12.2.2014 zápis v ČR jako OK-9927

Prameny

  • Flight manual, Service manual, Repair manual PIK-20B
  • Flight manual, Service manual, Repair manual PIK-20D
  • ing. Jiří Karas: PIK-20D (L+K 1977/24)
  • ing. Tadeáš Wala: Blesk z Fínska (L+K 1978/14)
  • Richard H. Johnson: A Flight test evaluation of the PIK-20D-78 (Soaring Magazine, January 1979)
  • http://pik20.streckenflug.at/index.php?inc=news
  • http://www.piy.fi/pik20intro.php
  • http://en.wikipedia.org/wiki/Eiri-Avion_PIK-20
  • http://www.yksityisilmailu.fi/ilma-alukset/harrasteilma-aluksen_lentokelpoisuus/pik-20-tuki/

Technické údaje

TypPIK-20BPIK-20D
Rozpětí15 m
Délka6,43 m
Výška1,39 m
Nosná plocha10 m2
Prázdná hmotnost240 kg *)225 kg
Vzletová hmotnost450 kg
Max. rychlost262 km/h292 km/h
Klouzavost42**)42**)
POZNÁMKY:
*) skutečná prázdná hmotnost stroje v.č. 20110 byla 263 kg.
**) naměřená klouzavost se pohybovala kolem 38.
Vyhledávání
Info o článku
Autor: Tomáš Rusek
Zveřejněno: 25.12.2014
Poslední úprava: 16.11.2024
Galerie
Galerie
Československé letectví - web o historii letectví u nás [2022-2026]